Поиск по сайту:

 


По базе:  

микроэлектроника, микросхема, микроконтроллер, память, msp430, MSP430, Atmel, Maxim, LCD, hd44780, t6963, sed1335, SED1335, mega128, avr, mega128  
  Главная страница > Компоненты > Maxim > Интерфейсы > ECL, PECL, LVDS




MAX9125, MAX9126

Четырехканальные линейные LVDS приемники со встроенными согласующими каскадами

Характеристики:

  • Встроенные согласующие каскады устраняют необходимость установки 4 внешних резисторов (МАХ1926)
  • Совместимость по выводам с прибором DS90LV032A
  • Гарантированная пропускная способность 500 Мбит/с
  • Максимальное время рассогласования – 300 пс
  • Удовлетворяет требованиям стандарта ANSI TIA/EIA-644
  • Однополярное питание +3,3 В
  • Ток потребления в дежурном режиме 70 мкА
  • Встроенная схема коррекции ошибок

Применение:

  • Цифровые копировальные устройства
  • Лазерные принтеры
  • Базовые станции сотовых систем связи
  • Цифровые коммутаторы
  • DSLAM
  • Сетевые коммутаторы/маршрутизаторы
  • Ретрансляторы тактовых импульсов

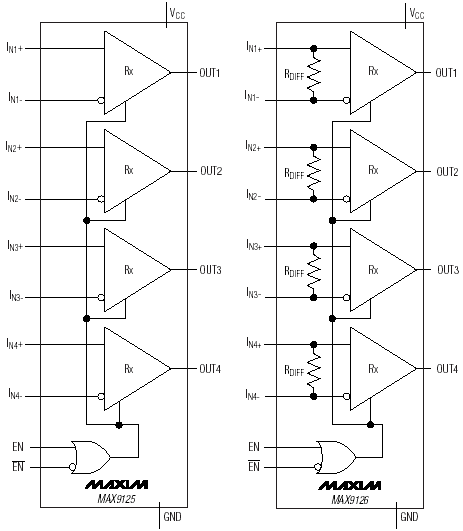
Структурная схема:

Расположение выводов:

Общее описание:

MAX9125/МАХ9126 - четырехканальные линейные приемники низковольтных дифференциальных сигналов (LVDS), идеально подходящие для применения в прикладных программах, требующих высокой скорости передачи данных, малого потребления и низкого уровня шумов. MAX9125/МАХ9126 имеют гарантированную пропускную способность принимаемых сигналов до 500 Мбит/с (250 МГц) при полном сопротивлении источника 100 Ом. Сигналы могут передаваться по линиям связи на печатных платах или по кабелям.

Приборы имеют четыре дифференциальных LVDS входа, сигналы с которых он преобразует в выходные 3,3 В сигналы LVCMOS/LVTTL уровней. Прибор МАХ9126 параллельно входам содержит встроенные согласующие резисторы, имеющие номинальное сопротивление 115 Ом, что устраняет необходимость использования внешних резисторов и позволяет снизить размеры. Входы прибора MAX9125 имеют высокое полное входное сопротивление и поэтому им требуются внешние согласующие резисторы для работы в режиме прямого соединения.

Приборы имеют широкий диапазон изменения синфазных сигналов- от 0.05 В до 2,35 В, учитывающий возможный уровень напряжения относительно земли и синфазные помехи, возникающие на линии между передатчиком и приемником. Схема коррекции ошибок устанавливает на выходе приборов высокий уровень, когда линия связи разомкнута, замкнута или содержит одинаковые сигналы на обоих проводах. Приборы имеют входы EN и nonEN для одновременной активизации высокоомного состояния выходов всех четырех приемников. Входы приборов отвечают требованиям стандарта ANSI TIA/EIA-644 LVDS. MAX9125/МАХ9126 работают от однополярного источника питания 3.3 В и имеют рабочий температурный диапазон от -40°C до +85°C. Приборы выпускаются в 16 выводных миниатюрных TSSOP и SO корпусах. Обратите внимание на прибор MAX9124(pdf), который представляет собой четырехканальный LVDS передатчик.

Документация:

  226 Kb Engl Описание микросхемы
  Что такое LVDS





 
Впервые? | Реклама на сайте | О проекте | Карта портала
тел. редакции: +7 (995) 900 6254. e-mail:info@eust.ru
©1998-2023 Рынок Микроэлектроники